
MIL-DTL-22759/87A
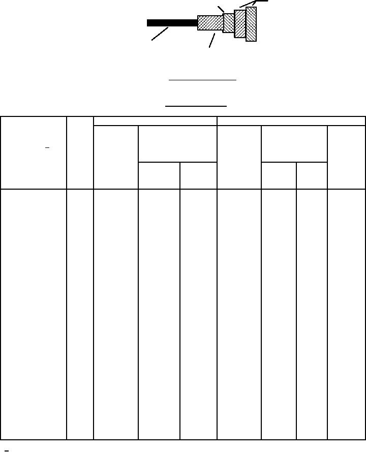
FP / POLYIMIDE / FP TAPE
FP TAPE
GENERAL PURPOSE STRANDED NICKEL
COATED COPPER CONDUCTOR (SIZES 2 TO 04)
FP TAPE
FP - Fluorocarbon Polymer, modified Polytetrafluoroethylene (PTFE)
FIGURE 2. General configuration
Table I. Construction details.
Conductor
Finished Wire
Diameter
Weight
Stranding
Diameter
Resistance
at 20° C
1/
(in.)
(lb./1000
(number of
(in.)
Part No.
Wire
(68°F)
Ft)
Size
strands
x AWG
(ohms/ 1000
(Max.)
gauge of
MIN.
MAX.
ft max.)
Min.
Max.
strands)
M22759/87-26-*
26
19 x 38
0.0175
0.0204
42.2
0.033
0.037
1.55
M22759/87-24-*
24
19 x 36
0.0225
0.0244
25.9
0.038
0.042
2.15
M22759/87-22-*
22
19 x 34
0.0285
0.0314
16.0
0.043
0.047
3.00
M22759/87-20-*
20
19 x 32
0.0365
0.0394
9.77
0.051
0.055
4.55
M22759/87-18-*
18
19 x 30
0.0455
0.0494
6.10
0.061
0.065
6.70
M22759/87-16-*
16
19 x 29
0.0515
0.0554
4.76
0.068
0.073
8.60
M22759/87-14-*
14
19 x 27
0.0645
0.0694
3.00
0.081
0.086
12.95
M22759/87-12-*
12
37 x 28
0.0835
0.0894
1.98
0.100
0.105
20.1
M22759/87-10-*
10
37 x 26
0.106
0.112
1.24
0.122
0.127
31.4
M22759/87-8-*
8
133 x 29
0.158
0.169
0.694
0.180
0.188
57.6
M22759/87-6-*
6
133 x 27
0.198
0.212
0.436
0.219
0.229
88.3
M22759/87-4-*
4
133 x 25
0.250
0.268
0.275
0.276
0.288
143.0
M22759/87-2-*
2
665 x 30
0.320
0.340
0.177
0.344
0.364
222.0
M22759/87-1-*
1
817 x 30
0.366
0.380
0.144
0.388
0.408
289.0
M22759/87-01-*
0
1045 x 30
0.395
0.425
0.113
0.420
0.450
345.0
M22759/87-02-*
00
1330 x 30
0.440
0.476
0.089
0.475
0.505
432.0
M22759/87-03-*
000
1665 x 30
0.500
0.540
0.071
0.530
0.560
542.0
M22759/87-04-*
0000
2109 x 30
0.565
0.605
0.056
0.590
0.630
681.0
1/
Part Number: The asterisks in the part number column of Table I shall be replaced by color code designators in
accordance with MIL-STD-681. Examples: M22759/87-20-93 is a 20 AWG white with orange stripe.
2