
MIL-DTL-3702F
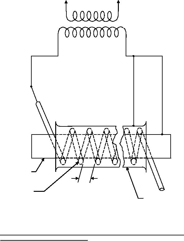
TO LINE
TRANSFORMER
METAL MANDREL
0.75
(19.0)
CABLE SPECIMEN
METAL TEST SLEEVE
NOTES:
1. Dimensions are in inches.
2. Metric equivalents are given for information only.
FIGURE 3. Wiring diagram for maximum voltage test, life cycle test, low temperature test, hot oil test,
anti-icing fluid test, and corona-effects test.
28
For Parts Inquires call Parts Hangar, Inc (727) 493-0744
© Copyright 2015 Integrated Publishing, Inc.
A Service Disabled Veteran Owned Small Business