
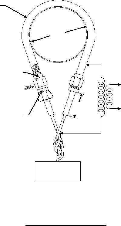
MIL-DTL-3702F
TITEFLEX S-154
BREEZE E-1200-X
OR EQUIVALENT
SERVICE-TYPE
CONDUIT (AIRTIGHT)
APPROX. 15 INCH (381 mm) LENGTH
6.0
(162.0)DIA
STANDARD COUPLING NUT
SEALING GROMMET
TO LINE
4.0
(102.0)
MANIFOLD
OUTLET FITTINGS
(SKIRT REMOVED TO
PREVENT FLASHING)
5-LB
WEIGHT
NOTES:
1. Dimensions are in inches.
2. Metric equivalents are given for information only.
FIGURE 4. High temperature and altitude test setup.
29
For Parts Inquires call Parts Hangar, Inc (727) 493-0744
© Copyright 2015 Integrated Publishing, Inc.
A Service Disabled Veteran Owned Small Business