
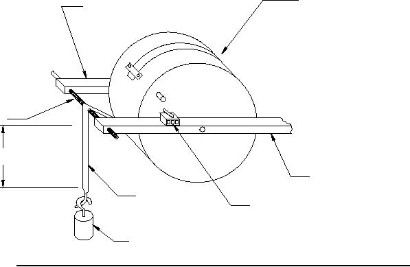
MIL-DTL-24640C
ROTATING, MOTOR-DRIVEN DRUM
WHICH REVERSES DIRECTION TO
PRODUCE THE SPECIFIED
FIXED SUPPORT
RECIPROCATE MOTION OF THE
BRAIDED COTTON TAPE.
SPECIMEN
RECIPROCATING TAPE
MOTION OF 10" +1, -0
FIXED SUPPORT
BRAIDED COTTON TAPE
AUTOMATIC COUNTER
1/2±1/64 POUND, -0 WEIGHT
FIGURE 7. Diagram of typical abrading machine for the permanence of printing (conductor insulation) test.
55
For Parts Inquires call Parts Hangar, Inc (727) 493-0744
© Copyright 2015 Integrated Publishing, Inc.
A Service Disabled Veteran Owned Small Business